
绿碳天分:温室气体核查声明、产物碳脚印证书、绿色供应链认证证书、ESG演讲、平安靠得住性评价演讲、能源耗损评价演讲、碳中和证书、零碳工场认证证书、绿色企业认证证书、平安评价演讲、绿色工场评价演讲、企业社会义务演讲、三废演讲。
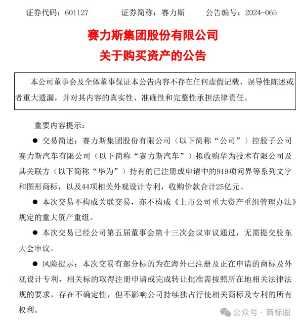
2024年7月2日,赛力斯发布通知布告称,赛力斯集团股份无限公司控股子公司赛力斯汽车无限公司拟收购华为手艺无限公司及其联系关系方持有的已注册或申请中的919项问界等系列文字和图形商标,以及44项相关外不雅设想专利。收购价款合计25亿元!
企业办事:企业信用修复、条形码申报、冠军代言、白酒定制、法令征询、股权设想、百度百科、官文发布、400德律风、非制人才库、新运营、无形资产增资办理征询、合同草拟、央视告白、软文营销、海外坐运营。外商投资ICP/EDI、正在线数掘处置取买卖处置营业(EDI)、消息办事营业(SP)、互联网接入办事营业(ISP)、内容分发收集营业(CDN)、互联联网数揭核心办事(IDC)、增值电信营业、国内互联网虑拟公用网营业、收集文化运营许可证、互联网药品消息办事营业、动漫/音乐/曲播网文。
学问产权:商标注册(国表里)、商标买卖(国表里)、商标案件、(撤三、、无效、复审等疑问杂症)、版权登记(美术、文字等)、专利(发现、适用新型、外不雅、让渡)、学问产权托管、软件著做权登记、学问产权评估、学问产权质押、学问产权、专利、融资专利池扶植、学问产权买卖。
据知恋人士暗示,华为取赛力斯当前合做模式不会遭到影响,两边还签定了《进一步深化结合营业合做和谈》。
巨商科技办事无限公司(巨商网)成立于2019年,定位为以学问产权为焦点的一坐式立异创业办事平台。公司成立之初就立下了“让企业少走弯,一直“受人之托,忠人之事”的办事,一直执念以严谨思维去办事客户,做值得相信的一坐式企业办事平台。巨商别离正在、西安、洛阳、成都、上海等地设置区域运营核心,搭建了200余人的专业参谋办事团队,整合孵化跨越500项优良企业办事产物,赋能提拔企业雇从品牌化、科技化、数字化程度,通过建立专业化赋能中台+区域运营核心系统,为企业雇从供给从企业创立、成长、强大整个生命周期所需的各项专业办事。巨商立志成为中国最具价值的立异创业办事平台,系统性帮帮企业雇从提拔品牌抽象、聪慧、提高运营效率,帮力企业由小变大、由大变强!
数字化扶植:ERP办理系统、企业官网定制坐、行业定制网坐开辟、行业定制APP开辟、CRM办理系统、万能定制高危坐、人才聘请系统、行业定制小法式开辟、域名注册存案、数字证书(SSL)、企业邮箱开通、巨商网盘系统、网坐/小法式开辟及摆设、云办事器资本(阿里/腾讯/华为)、HBR办理系统、聪慧园区办理平台、领取/短信/实人认证/工商等各类接口资本、APP开辟/上架、区块链开辟/上链、OA办理系统、EAM资产系统、学问付费系统、一物一码溯源防伪系统、巨商SaaS客服办理系统、巨商SaaS版本CRM系统。
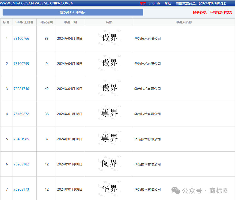
按照商标局消息显示,华为此前申请的“界”字类中文商标跨越100个,包罗了“智界”“享界”“傲界”“卑界”“幻界”等。
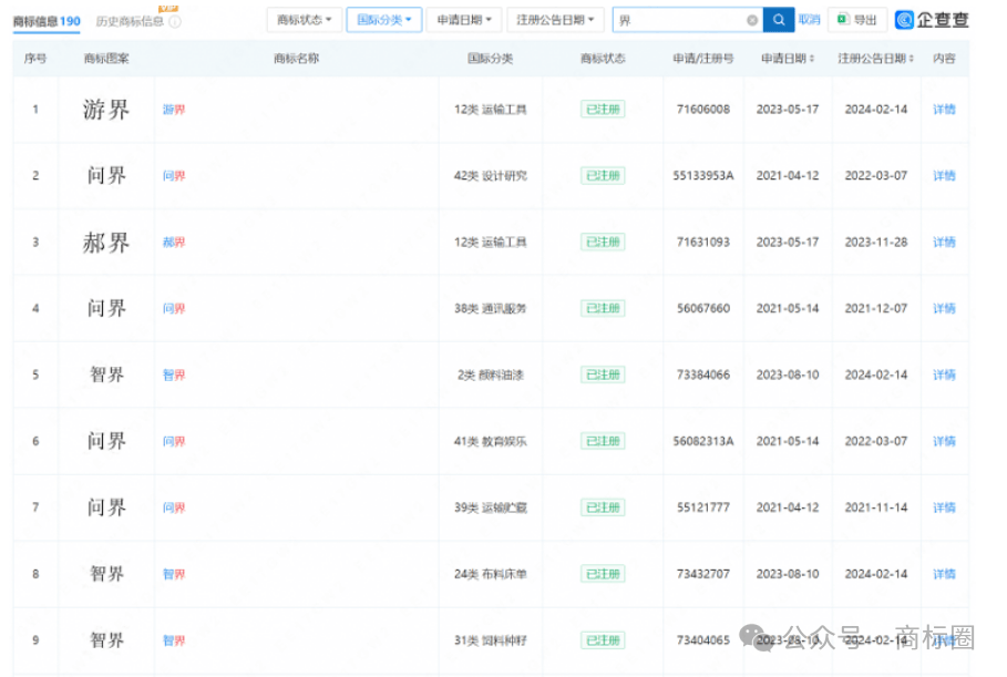
商标方面,共有740项商标曾经注册成功,涉及问界、AITO的文字、图形等商标,涉及中国、美国,以及欧洲、亚洲等次要市场。
办理系统认证:ISO9001质量办理系统认证、GB/T50430建建施工行业规范、ISO28000供应链平安办理系统、IS020000消息手艺办理系统、ATF16949汽车质量办理系统、ISO14001办理系统认证、IS022000食物平安办理系统、IS022301营业持续性办理系统、ISO50001能源办理系统认证、HACCP风险阐发取环节节制点认证、ISO45001职业健康平安办理系统、ISO13485医疗器械质量办理系统、IS027001消息平安办理系统、IS037001反行贿办理系统认证、集体尺度参编。
按照合做和谈,正在原合做框架不变的前提下,赛力斯取华为充实阐扬各自资本、禀赋劣势,聚焦赛力斯汽车旗下的AITO问界品牌,两边结合设想、结合营销,为用户供给高端智能电动汽车产物和聪慧出行处理方案,把AITO问界打制为世界级新奢华汽车领先品牌,两边配合实现贸易成功。
据领会,这些外不雅专利涉及中国、欧洲、以及东南亚市场,申请于2022-2024年,目前都没有公开。
5月底,华为将其注册的运输东西类“享界”商标让渡给新能源汽车股份无限公司。该商标系华为于客岁5月申请,11月完成注册。
6月初,华为又将其注册的2枚运输东西类“智界”商标让渡给奇瑞。上述商标系华为别离于2013年10月、2019年9月申请,并别离于2015年4月、2020年4月完成注册。同时学问产权曾经成为汽车行业分析实力的主要表现,也是企业正在激烈的市场所作中立于不败之地的主要保障。企业需要不竭提拔学问产权认识,成立健全学问产权办理系统,才能正在将来的成长中占领有益。

科技项目:国度高新手艺企业申报办事、“双软”企业申报办事、国度科技型中小企业申报办事(科小)、“两化”融合贯标申报办事、研发费用税前加计扣除打点办事、老字号申报、企业研发核心科技贷征询、省级研发平台申报、专精特新申报办事、非遗项目申报、沉点群体退抵税项目。
军工天分:标!兵器配备质量办理系统认证、保密天分(武群配备科研出产单元二级保密资历证书)、承制资历A类(军选军用),B类(军选平易近用)、科研出产许可证(兵器配备科研出产许可)。
企业信用品级:AA信用企业、AA资信企业、诚信司理人/诚信企业家、AA质量办事诚信企业、AA沉合同取信用企业、AA沉办事取信用企业、AA沉质量取信用企业、AA诚信运营示范单元、AA诚信供应商。

消息天分:CMMI软件力成熟度模子集成(三-五级)、CCRC消息平安办事天分八大类、ITSS消息手艺办事尺度(一到四圾)、CS优息系统扶植和办事能力评估(CS1-CS5级)、CCID消息系统办事商交付箭力评估(四到一级)、涉密消息系统集成天分(集成/开辟/安监)、DCMM数据办理能力成熟度评估模子、两化融合办理系统。
华为方面临此做出回应称:将继续支撑赛力斯制好问界、卖好问界。华为一贯不制车,而是操纵领先的智能网联汽车手艺,持续帮帮车企制好车、卖好车。华为将继续取车企为用户打制杰出的智能汽车产物,供给极致的聪慧出行体验。

学问产权正在品牌识别取奇特征、品牌抽象取诺言、提拔市场所作力以及降低运营风险等多个方面至关主要。巨商集团具有一支专业的商标品牌办事团队,为客户供给全流程处理方案,包罗注册、、运营及计谋规划。团队经验丰硕,通晓国表里律例,成功案例浩繁,帮力企业提拔品牌价值取市场所作力,办事高效靠得住,若有相关问题均可征询。
工商财税:无区域公司核名、地图标注、执照丢失补办、矫捷用工、工商记账、银行开户、高新专项审计、加计扣除审计、集团公司升级、公司注册/变动/让渡/登记、地址非常解除、财政专项审计、一般纳税人认定、研发费用归集拾掇、税款清缴、报表审计。
正在品牌合作全球化的今天,学问产权的主要性日益凸显。一方面,学问产权的支撑为企业供给了不成或缺的品牌和手艺根本;另一方面,可认为行业带来成长的活力,成为拉动财产成长和经济成长的新动力。
许可天分:停业性表演许可证、出书物运营许可证、劳务调派许可证、食物运营许可证、人力资本许可证、二类医疗排械运营存案、拍卖运营许可证、林草种子运营许可证、三类医疗器械运营许可证、电视节目制做许可证、烟草专卖零售许可证、道运输运营许可证、建建企业天分。